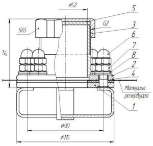
Отвод фланцевый — это распространенный вид фасонных частей, благодаря которому осуществляется соединение в единую цепь двух звеньев (труб) одинакового диаметра с изменением направления движения на определенный угол — 5-60 градусов (в зависимости от конкретных потребностей). Оба конца предполагают наличие фланца — специального крепежного элемента для обеспечения разъёмной стыковки.
Технические характеристики:
В зависимости от производимого изделия
Условия сотрудничества:
Оплата: 50% или 100% предоплаты. Доставка: Самовывоз с завода
Минимальное кол-во заказа: от 50 шт
Цена:от 774 руб. Цена указана с НДС.
Цена:от 774 руб. Цена указана с НДС.
Нам доверяют:


ООО НПФ Политехника

ООО «Научно-производственная фирма Политехника» является ведущим российским предприятием, специализирующимся на разработке и серийном производстве эластичных резервуаров и мягких оболочек для нужд Министерства Обороны МЧС, предприятий нефтегазовой и химической промышленности, производственных, научных, аграрных и коммерческих компаний самого различного профиля.

Фланцевый отвод
ЗВОНИТЕ ИЛИ ПИШИТЕ:

Телефон: +7 (495) 644-45-37
Email: info@rokba.com
Факс: +7 (495) 644-45-37




Тверская область, Конаковский район,
пгт Редкино, ул.Промышленная, д.7
171260, Россия

Made on
Tilda