Микрокомпрессор МКМ-20

Разработан микрокомпрессор для побуждения расхода воздуха в системах анализаторов газовоздушных смесей.
Данный микрокомпрессор прошел все виды испытаний согласно технического задания и технических условий заказчика, и принят в серийное производство.

Шкаф вводно-распределительный (ШВР)

Шкаф вводно-распределительный – предназначен для ввода, питания, распределения и учёта электроэнергии в сетях 0,4 кВ с максимальным током потребления на фазу – до 400 А.
Мы разрабатываем, рассчитываем, подбираем коммутационную аппаратуру и монтируем распределительные шкафы, щитки освещения, шкафы АВР и т.д. по техническому заданию и желанию заказчика. Поможем в расчётах на потребление электроэнергии и выбор кабелей.

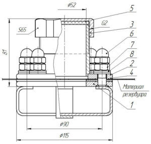
Бак промежуточный

Бак промежуточный – используется как промежуточная (сепарирующая) ёмкость в системе «Биотуалет» подвижных составов железно-дорожных вагонов, катеров, яхт и хаузботов, а также мобильных и немобильных блочных домах контейнерного типа.

Карусельная оснастка линий розлива

Карусельная оснастка – используется для переоснащения линий розлива как в пищевой промышленности (вода, соки, молочная продукция и т.д.), так и не пищевой промышленности (масла, антифризы, присадки, бытовая химия и т.д.). Для каждого типа, размера и объёма тары мы разрабатываем и изготавливаем карусельные оснастки диаметром до 1 метра.

Оснастка для лаборатории качества

Данная оснастка относится к разряду единичных и индивидуальных заказов, как по чертежам заказчика, так и по нашим разработкам рабочей конструкторской документации. Данная оснастка разрабатывалась и изготавливалась для лаборатории качества одного из химических предприятий.

Бак сливной

Бак сливной – используется как накопительная ёмкость в системе «Биотуалет» подвижных составов железно-дорожных вагонов, катеров, яхт и хаузботов, а также мобильных и немобильных блочных домах контейнерного типа.

.

Фланцевый отвод

Отвод фланцевый — это распространенный вид фасонных частей, благодаря которому осуществляется соединение в единую цепь двух звеньев (труб) одинакового диаметра с изменением направления движения на определенный угол — 5-60 градусов (в зависимости от конкретных потребностей). Оба конца предполагают наличие фланца — специального крепежного элемента для обеспечения разъёмной стыковки.

Стационарная урна для раздельного сбора мусора (УРСМ) U03. Конструкция, состоящая из пяти баков с откидываемой крышкой. Каждый конетейнер имеет цветовую идентификацию и перфорацию (опционально) соответствующую типу собираемого мусора (стандарт ISO 14000). Урна подходит для установки на улицах и в парковых зонах.
Урны для раздельного сбора мусора (УРСМ) U03
Стационарная урна для раздельного сбора мусора (УРСМ) U04. Конструкция, состоящая из четырех баков, закрепленных на общем основании, защищенном крышкой. Каждый контейнер имеет цветовую идентификацию и перфорацию (опционально) соответствующую типу собираемого мусора (стандарт ISO 14000). Урна подходит для установки в общественных зонах (на улицах, в парковых зонах).
Урны для раздельного сбора мусора (УРСМ) U04
Стационарный контейнер U05 применяется для сбора и хранения твердых бытовых отходов.
Материал: Листовая углеродистая сталь с порошковой окраской.

Мусорный контейнер с крышкой U05 объемом 0,75 м3
Контейнеры, предназначенные для сбора ТБО. В линейке представлены как облегченные, так и наоборот, усиленные модели
В настоящее время бункеры накопители 8 м3 относятся к популярным моделям для сбора мусора. Почти на каждой строительной площадке, производственном предприятии, на придомовой территории встречается данный контейнер. Преимуществом бункера лодочки 8 куб. м. является универсальность конструкции, которая позволяет перемещать с помощью мусоровоза - самой распространенной техники для сбора и вывоза отходов в России - мусора любого вида.

Контейнер для сбора мусора 8 м.куб
ЗВОНИТЕ ИЛИ ПИШИТЕ:

Телефон: +7 (495) 644-45-37
Email: info@rokba.com
Факс: +7 (495) 644-45-37




Тверская область, Конаковский район,
пгт Редкино, ул.Промышленная, д.7
171260, Россия

Made on
Tilda